
为了减少巧克力中含有的 40%-60% 的脂肪含量,不少科学研究都在做努力,包括用水、柠檬烯等物质来代替其中的脂肪。费城坦普尔大学的物理学家们想到了一种新的生产方法,在不添加新物质的情况下,减少其中的脂肪。这项研究已经获得了美国专利商标局授予的两项专利。
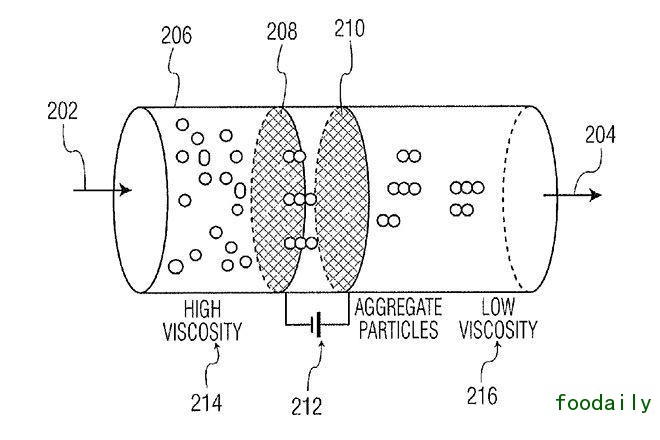
他们想到的方法是给液体状态下的巧克力施加一个电场(能对场中的电荷产生力的作用),让可可粒子带上极性后,使得巧克力的颗粒经过调整后变成短链,更容易流动。

施加电场
这其实是跟脂肪在巧克力生产过程中的作用有关。就目前而言,脂肪在巧克力的生产过程中是必须的,它能让巧克力在生产过程中保持液体流动状态。因而,在施加电场后,巧克力在流动方向上的黏性降低,对于脂肪含量的需求也就降低了。
在使用自己设计的机器测试了玛氏火星巧克力棒后,这些研究员发现,他们能将巧克力在一个流动方向上的黏性减少了 43.5%,而脂肪含量减少 10% 以上,其他品牌的巧克力也同样有减少的效果。
在此之前,给巧克力减少脂肪含量方面已经有多项研究了。伯明翰大学的一份研究显示,他们将巧克力中 60% 的成分都换成了水,主要方法是将水分子和可可脂结合。据称,这种巧克力口感和气味都跟普通的巧克力没有差别。
不过,需要说明的一点是,大部分巧克力中所含有的脂肪都是可可脂,这是一种对人体有益的成分。相比之下,巧克力中的另一种成分糖可能是更需要顾虑的,不少科学家认为是糖而非脂肪是肥胖、心脏病等的主要原因。


评论